- Технические характеристики и другая информация предоставляются для справки.
- Чертежи и изображения представлены для ознакомления
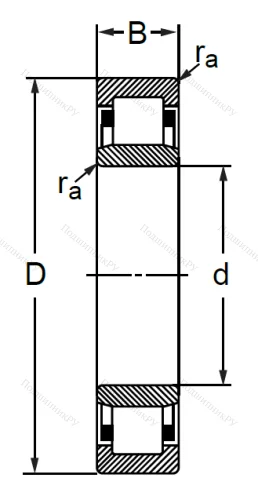
Цилиндрический роликовый подшипник 32211 (NU 211)
Однорядный узел аксиального типа, в конструкцию которого входят две обоймы – внешняя двубортная и внутренняя без бортов, сепаратор, а также цилиндрические ролики, выступающие в качестве тел качения.
Каковы особенности Цилиндрический роликовый подшипник 32211 (NU 211)?
· Благодаря особой форме устройства смещение вала в двух направлениях относительно корпуса, имеющее место из-за его температурных деформаций (расширений), частично компенсируется.
· Разборная конструкция, дающая возможность снять кольцо, находящееся внутри, облегчает процесс монтажа и демонтажа.
· Может использоваться в качестве плавающей опоры.
· Собран из высокопрочных материалов, поэтому выдерживает экстремальные рабочие нагрузки в жестких условиях эксплуатации.
Если вы желаете приобрести Цилиндрический роликовый подшипник 32211 (NU 211) с внутренним диаметром d 55. Наружный - D 100. Ширина - B 21, мы предложим вам лучшую цену!
| Бренд | CRAFT |
| Страна производитель | СИНГАПУР |
| Внутренний диаметр d | 55 мм |
| Внешний диаметр D | 100 мм |
| Ширина B(H) | 21 мм |
|
Производитель
|
CRAFT |
|
Ширина B
|
21 |
|
Внешний диаметр D
|
100 |
|
Внутренний диаметр d
|
55 |
|
Размер
|
55x100x21 |
|
Модель
|
32211 (NU 211) |
Похожие по размеру
Оформить заказ на нашем сайте легко. Просто добавьте выбранные товары в корзину, а затем перейдите на страницу Корзина, проверьте правильность заказанных позиций и нажмите кнопку «Оформить заказ» или «Быстрый заказ».
Функция «Быстрый заказ» позволяет покупателю не проходить всю процедуру оформления заказа самостоятельно. Вы заполняете форму, и через короткое время вам перезвонит менеджер магазина. Он уточнит все условия заказа, ответит на вопросы, касающиеся качества товара, его особенностей. А также подскажет о вариантах оплаты и доставки.
По результатам звонка, пользователь либо, получив уточнения, самостоятельно оформляет заказ, укомплектовав его необходимыми позициями, либо соглашается на оформление в том виде, в котором есть сейчас. Получает подтверждение на почту или на мобильный телефон и ждёт доставки.
Если вы уверены в выборе, то можете самостоятельно оформить заказ, заполнив по этапам всю форму.
Выберите из списка название вашего региона и населённого пункта. Если вы не нашли свой населённый пункт в списке, выберите значение «Другое местоположение» и впишите название своего населённого пункта в графу «Город». Введите правильный индекс.
В зависимости от места жительства вам предложат варианты доставки. Выберите любой удобный способ.
Оплата
Выберите оптимальный способ оплаты.
Введите данные о себе: ФИО, адрес доставки, номер телефона. В поле «Комментарии к заказу» введите сведения, которые могут пригодиться курьеру, например: подъезды в доме считаются справа налево.
Проверьте правильность ввода информации: позиции заказа, выбор местоположения, данные о покупателе. Нажмите кнопку «Оформить заказ».
Наш сервис запоминает данные о пользователе, информацию о заказе и в следующий раз предложит вам повторить к вводу данные предыдущего заказа. Если условия вам не подходят, выбирайте другие варианты.
